Detailansicht


Sie befinden sich in:
LSL Fussrastenanlage 2 Slide für Yamaha MT09 Modelle ab Bj. 2014

LSL Fussrastenanlage 2 Slide für Yamaha MT09 Modelle ab Bj. 2014











LSL 2 Slide Fussrastenanlage


Fussrastenanlage passend für Yamha MT 09 Modelle Baujahr 2014-2016.
Passend für folgende MT09 Modelle.

MT09
RN29
2014-2016
MT09 Sport Tracker
RN29
2014
MT09 Street Rally
RN29
2014
Mt09 Tracer
RN29
2015-2016



Ausführung: Schwarz inclusive Rasten. Fixierpunkt rot.


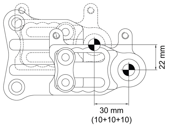
Verstellbereich
Längs: 30mm; 4 Positionen/10mm-Schritte
Hoch: 22mm; 2 Führungsnuten

Die LSL-Lösung für den sportlich ambitionierten Fahrer ist die 2Slide-Rastenanlage.
Diese ist in der Horizontalen 4-fach verstellbar; Stellschritte je 10mm; und das wahlweise in zwei Führungsnuten, die in der Höhe 22mm Differenz bergen.
Die Rastenkörper sind im Lieferumfang enthalten und werden starr verschraubt, kurz ausgeführt und stark gerändelt.
Die Rastenanlage ist schwarz eloxiert.
Es ist möglich, die 2Slide-Rastenanlage für umgedrehte Schaltlage zu bestellen.

Die Anordnung der Fußrasten kann horizontal in vier Positionen justiert werden.
Zwei Höhenlagen ergeben sich aus den übereinanderliegenden Führungsnuten.
Die Rastenkörper sind kurz ausgeführt und griffig gerändelt die Grundplatten und Hebel schwarz eloxiert.
Der Schalthebel ist tief nach unten gezogen, damit es beim Schräglagenwechsel durch das Umsetzen nicht zu ungewollten Schaltvorgängen kommt.
Die Anpassung der Schaltstange an die unterschiedlichen Rastenpositionen erfolgt durch verschiedene Distanzstücke.

Für den Einsatz der 2 Slide Rastenanlge mit umgedrehter Schaltstange muss bei vielen Modellen nur der Getriebehebel umgedreht werden, andere benötigen einen Umrüstsatz für umgedrehte Schaltlage.
Gerne klären wir das für ihren Motorradtyp ab.




Die LSL-Rastenanlagen können mit einer klappbaren Rastenaufnahme ausgestattet werden.
Gegen Aufpreis von 69.-€ können Sie diese in den Farben Schwarz oder silber mitbestellen



Klappgelenk.jpg

  • TOP Qualität
  • TÜV-Teilegutachten
  • Entwickelt und hergestellt in Deutschland

Eine ausführliche Einbauanleitung finden Sie hier
Klappgelenke mitbestellen  
Lieferbar
Lieferzeit in Werktagen , nach Zahlungseingang: DE 10-12 Tage, EU 12-15Tage, Welt 23-32 Tage
Preis 524,00 EUR
Preis enthält MwSt zzgl. Versandkosten
Angaben zur Lieferzeit
Menge: Paar
Nur für den Rennsport! Im aktuellen Teilegutachten noch nicht gelistet.